 
          像火车卧铺的飞机座椅:你的头还会碰到他的脚
爱范儿之前曾写过一篇介绍奇葩飞机座椅的文章,里面提到:
同样是追求性价比,Airbus 设计的一款鞍状座椅则让人颇感辛酸。从图片我们可以感受得到,坐上去一定不会很舒服。
以下是具体图片。
本来以为它会就此打住,没想到最近,这家公司又开始申请飞机座椅专利了……
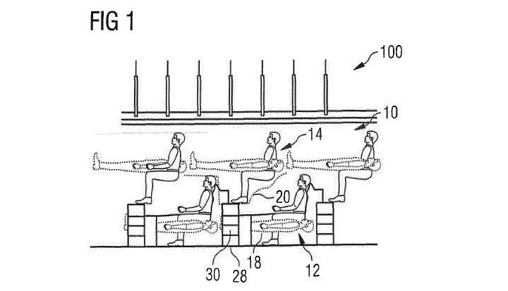
此次,Airbus 采用了不同寻常的复合式设计,在原有的座椅之上又添加了一层,其官方声称,“至少”会有一个座位在头顶。
对此,CityLab 表示:
The “at least” is ominous.
“至少”这句话是个噩梦。
甚至在文章中,它还将其与火车卧铺进行类比,并认为,印度早在 Airbus 之前就做到这一点了。
不过,这款座椅并非毫无优点:据说一部分座位可以通过自动调节,使乘客平躺下来——虽然,这种方式可能会让一个乘客的头碰到另一个乘客的脚。
那么,Airbus 在设计这款座椅时,到底是怎么想的呢?以下是官方声明:
在现代的交通手段中,尤其是飞机,从经济角度出发,最大化利用客舱空间,是非常重要的一件事。
为了更有效地利用空间,我们特意设计了这种复合式结构。(意译)
当然,对于 Airbus 丰富的想象力和创造力,大家早就见怪不怪了。在此之前,除了鞍状座椅之外,他们还设计过一种长得像 UFO 的飞机,也申请过专利来的。
题图来自:wuji8 插图来自:lainformacion、cnbeta
 
          
           
                 
                 
                 
                 
              




 
                   
           
           
           
          