苹果 Magic Mouse 将新增压感,愚蠢的底部充电口也取消了?
近日美国专利局通过了一项苹果的专利申请,专利中所描述的是一种可以感应压力的鼠标。而这款鼠标与苹果目前在售的 Magic Mouse 外观相同,所以很有可能将会是即将推出的 Magic Mouse 升级版。
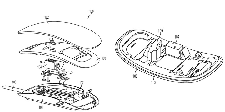
专利中显示,当用户对鼠标施加压力时,鼠标内置的压力传感器就会接收到这一信号,同时内置的触觉反馈马达会震动,对用户施加的压力进行反馈。整个过程与之前在苹果触控屏上的 Force Touch 类似。而从专利图中伸出的 108 号部件来看,此次苹果很有可能为 Magic Mouse 单独配备了一个在前部的充电接口。取消掉了在上一代更新中,被不少人称作“苹果最蠢设计”的底部充电口。
虽然苹果 Magic Mouse 有着不错的外观,但手感与按键触感一直饱受消费者诟病。为鼠标加入触觉震动反馈马达,会在一定程度上增强触控的手感。但由于 Magic Mouse 整体较为扁平的造型,手部在与鼠标接触时中间会有很大空间,时间一长很容易造成手部的疲劳。而之前 Magic Mouse 触控无反馈的问题也容易让用户难以确定自己是否操作成功,不得不使用更大力气去敲击鼠标,用久了也会感觉比较累。而市面上手感比较好的人体工程学设计鼠标,往往都采用了更为贴合手掌的外形,虽然看上去可能没有苹果 Magic Mouse 美观,但使用起来更加舒适。
虽然从苹果申请专利的惯例来看,很多专利是不会成为最终的实际产品的。但苹果去年更新了键盘鼠标触摸板的三件套。从最初的需要电池改为了 Lightning 充电,触控板也加入了 Force Touch 的压力感应。此次为 Magic Mouse 加入压力感应也就显得合情合理了。而这个新款鼠标很有可能会在 6 月份的 WWDC 之后上市与消费者见面。
把压力触控加入到更多的配件中,是不是苹果会在新版的 OS X 中有什么独特的新玩儿法?


