传苹果或推新 Lightning 数据线,端口接入更便利
Sonny Dickson 去年因曝光了 iPhone 5s 和 iPhone 5c 的相关谍照而闻名圈内,上周末,一款苹果手机数据线的谍照让他再次被聚焦。相比传统的数据线,新的数据线具可逆设计,意味着苹果之后的数据线在接入时,可以不用再确认接口的正反。
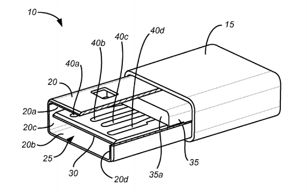
早在去年,苹果的一份专利中便对“可逆的 USB 连接器”做了很详细的描述,而此描述与 Sonny Dickson 谍照中的产品非常相似。
如果谍照中的数据线真是苹果的设计,说明苹果很可能在致力推出一款新的可逆 USB Type-A 连接器,而这款连接器理论上适用于自带标准 USB 端口的所有笔记本和台式电脑。
或许在即将到来的 iPhone 6 发布会上,这款设备会随新手机一并出现。

