自行车都智能化了,你可知道它的历史?
在不少旁观者的眼里,智能化几乎成了一种避之唯恐不及的“瘟疫”,开始攀附上大大小小、各式各样的工具和设备,从水杯、灯泡、体重秤这样的小物件,再到冰箱、洗衣机这些生活中的庞然大物。
兜兜转转之后,这场“瘟疫”又找上了在生活中不那么起眼的自行车。然而,在搭上智能化的顺风车之前,你可知道自行车的历史?虽然,在乐视超级自行车的发布会上,它已经用了自行车史上有着重要地位的三个名字——斯塔利、西夫拉克、阿尔普迪埃——来命名自家的自行车,但那远远不够。Gizmodo 为我们梳理了自行车发展的关键节点。
在开始之前,我们先来看看丹麦的设计师制作的动画,一分钟看完自行车近 200 年的演变。
1790s
比较公认的说法是,第一辆自行车由法国手工艺人西夫拉克(Médé de Sivrac)设计,在两个轮子上安装了支架并配上马鞍,前进的话需要用脚蹬地提供动力。这还只是一个很简单的雏形,没有方向舵,转弯的时候需要骑行者下车抬起前轮,稳定性也不好。
1820s
德国人杜莱斯(Karl Drais von Sauerbronn)制作了一辆和西夫拉克的设计相近的两轮车子,增加了车把,可以改变行进中的方向,速度可以达到 15km/h。不过,还是需要靠双脚蹬地提供动力。
1830s
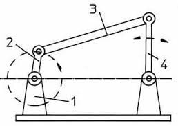
这时候第一辆真正意义上的自行车诞生了,是由苏格兰铁匠麦克米伦(Kirkpatrik Macmillan)设计的,它还有一个专门的名字——Velocipede。
这是第一辆双脚可以离地的自行车,同时也是第一辆后轮驱动的自行车。他在车架的两侧靠近脚的位置安装了两个连杆,一端连接着后轮,而另外一端则连接着最原始的脚踏板。
基本的原理如下,连杆 4 前后摆动的时候,可以带动 连杆 2 转动 360 度。另外值得注意的一点是,在两根长的连杆的中间,有一根线连接到车把手上。这也是最初的刹车部件。
虽然,Velocipede 是第一辆真正意义上的自行车,但它却并不是一个成功的商业产物。原因可能是和前后摆动双脚相比,人类更喜欢旋转的设计。这也可能是接下来的这款自行车大获成功的原因。
1870s
法国的 Pierre Michaux 把曲柄系统安装在了自行车的前轮上。而它与 Velocipede 另外一个区别还在于它的轮子的外圈是钢制的,里面包裹着木质的轮子。
1870s~1900s
这个阶段,自行车最明显的特点是轮子变得很高,主要是前轮,这样一来保证了自行车行进的速度,最高可以达到 20 英里每小时,也就是 32 公里每小时。这也带来了一个显而易见的缺陷,那就是中心变得越来越高,并且靠近前轮,行进过程中,或者是转弯时都会影响稳定性,即便是稍微用力蹬、刹车都很有可能直接把骑车人甩出去。
这时候,第一辆现代化的自行车出现了。它由英国人 Henry J. Lawson 设计,并且拥有了新的名字——Bicyclette。这辆车子在当时还被称为“安全自行车”,从这一点也能够看出 Bicyclette 的改进之处,这些改变从图片上一看便知:
前轮的尺寸缩减,加入了链条和链轮,取代之前直接的动力输出设计。更为重要的是,通过调整链轮的比例可以实现更高的转速。
在这之后,后人对自行车进行了更为细致入微的迭代演进,而自行车也最终变成了我们现在看到的这个样子。至于它未来怎么演进,谁又能说得清楚,是复古的 700Bike,是简约轻智能的曲奇 Cookee单车,是 BeginOne 的混合动力,还是乐视超级自行车?
题图为 700Bike 后街系列
插图来自:Gizmodo






