为什么苹果一定会进军 VR 和 AR 领域?
什么是 “ 真实 ” ?你如何定义 “ 真实 ”?如果是你说的你看到的,摸到的,感受到的一切,那么 “ 真实 ” 不过是大脑给你的电子信号而已。
这是电影 《黑客帝国》 中的一段台词。
虚拟现实,这个由美国人拉尼尔在上世纪 80 年代突出的概念,主要是通过计算机图形系统和各种现实及控制等接口设备,在计算机生成的,可交互的三位环境中提供沉浸感受的技术。
简单描述整个过程,就是通过电信号构建 “虚拟的” 现实,再通过你的大脑把这一现实转化为“真实”的感受。
苹果已经在布局 VR 和 AR 了?
刚刚在拉斯维加斯闭幕的国际电子消费展上,虚拟现实技术( Virtual Reality 下文简称 VR )和增强现实 ( Augmented Reality 下文简称 AR)几乎成为了主角。VR 设备也成为了今年消费电子的一大热点。苹果和以往一样,对于在研发的产品总是口风很紧,但是从这些年的苹果的一些收购和招聘中,还是暴露了苹果在 VR 和 AR 的野心。
2010 年,苹果以 2900 万美元收购瑞典面部识别技术公司 Polar Rose。
2013 年,苹果以 3.45 亿美元收购了以色列的 Prime Sense 公司。这家公司专注于开发实时 3D 动作捕捉技术。曾经为微软的 Xbox Kinect 设计了动作传感器。
2014 年 12 月, 苹果发出招聘信息,招聘有经验的 VR 和 AR 技术工程师, 有一份招聘广告中还明确写了被选中的将参与到为下一代苹果产品开发基于 VR 和 AR 的软件及工具。
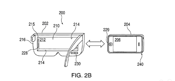
2015 年 2 月,苹果申请了一项专利,把一台头戴显示装置和其他类似于 iPhone 的便携式电子设备结合以便用来观看 (形态和现在市面上的 VR 眼镜很像)。
2015 年 3 月, 苹果又用 3200 万美元收购德国增强现实技术公司 Metio,与此同时 171 项 AR 领域的全球专利也收入苹果囊中。
2015 年 9 月, 又有消息曝出苹果收购了一家瑞士名叫 Face Shift 的公司,这家公司的专利是快速准确的无标记面部动画捕捉技术。
除了这些收购,招聘和专利申请,苹果还从竞争对手的 AR 项目团队中挖来了工程师。 Nick Thompson 曾经是微软 Hololens 工程的音频工程主管,曾经在微软参与 Hololens 项目两年的研发文章。他很有可能会成为苹果研发 AR 技术的重点人才。
肯定有不少人会说苹果申请过很多专利,但不是每个都会转化到新产品中,但 VR 和 AR 不同,VR 和 AR 对于生态圈级别的公司而言是必须要去占领的入口。
如 Hololens 之于微软, Oculus 之于 Facebook, Magic Leap 之于 Google。当然在这个新领域,苹果也不会落后于竞争对手,而且在一系列的收购和招聘后,结合苹果自身现有的优势,进行 VR 领域的研发也显得没那么困难了。
苹果 VR 设备大猜想
对于 VR 的显示设备,苹果应该会把头戴设备与 iOS 设备进行结合,这样就能利用上 iOS 开发者的技术积累和现有强大的 App Store 资源。
在 VR 的动作捕捉和位置跟踪上面,之前收购的 Prime Sense 和 Face Shift 的传感器将为苹果的 VR 设备提供较为成熟的动作捕捉和面部识别技术,只要能和苹果系统结合好并控制好量产成本即可。 Metaio 也可以提供处理传感器数据的算法并且在 iOS SDK 中加入新功能,方便开发者免费获得实现黑科技的工具。
苹果在去年发布的 iPhone 6s 上面配备了带有压力感应的 3D Touch 屏幕,把设备的触控体验从二维的平面操作拓展到了三维。苹果很有可能也会把这种三维的触控操作体验加入到自己 VR 设备的控制器当中。
作为苹果的第四款操作系统, TV OS 采用了类似于 OS X 以及 iOS 一样的极简 UI 设计。更重要的是引入了应用商店机制,Apple TV 的遥控器也支持体感操作。苹果很有可能把自己的 VR 设备同 Apple TV 进行结合,再加上苹果现有的强大的应用市场游戏资源,来挑战索尼 Play Station 和微软 Xbox 等游戏主机的市场。
苹果 VR 设备的发布时间? 未知
VR 作为一个新兴的消费电子领域,多数厂商到现在仍然处在摸索和布局的阶段。相比手机这种相对成熟的设备形态,目前也没有一家厂商推出的 VR 或者 AR 设备能够取代手机。
即使苹果已经开始 VR 设备的研发,可能我们这些普通消费者,还需要等上几年的时间让 VR 和 AR 设备真正的走进我们的生活。
但以现在技术进步的速度,也许就在今年或明年呢?


