未来的 007 电影里,可能会出现这样的无人机
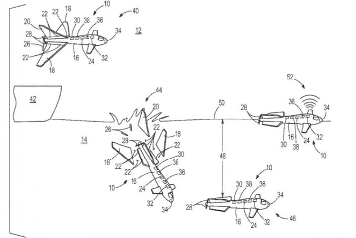
YouTube “专利猎人” Patent Yogi 有了个大发现:波音公司取得了一项专利,是一款空海两用无人机。它可以从飞行模式变形成为潜水艇模式,还能游回基地无线传回信息,可谓阿汤哥和零零七最爱的装备。
实际使用时,可能需要用一架飞机载送无人机上天,到达目的地上空附近让它自行滑翔,直到落入水面。或是用水溶性粘合剂,或是用可爆破脱落的螺丝,总之机翼在入水时机翼就会脱去。随后鱼雷型的机身后螺旋桨伸出,UAV(无人飞行器) 摇身一变成为 UUV(无人潜水器)。
从变态的谍战功能看来,这必须是一件军方专供的产品。Psfk 找出了一份 2004 年美国海军关于潜水器的报告,对比下波音的专利图,水下的部分如出一辙。无论是搜集情报还是从水下探测敌情,两栖无人机都有着很重要的战略意义。当然那时人们还没有想到,潜水器也能先上天,再入海。

在天上是无人机,在水里是零零七。
题图:《007:大破幽灵危机》
插图:psfk
          
          
                
                
                
                
              